一、引言
电厂系统中的高低加正常(危急)疏水调节阀,通过的介质水虽然参数较低,但因是饱和水,随着在阀后压力降低到饱和压力之下,必然会产生空化汽蚀,对阀门会造成极大的冲击,是目前电厂中容易损坏的一种阀门。
目前国内很多电厂在选型中,只考虑温度压力很低的因素,选用普通的疏水阀,却忽略了空化汽蚀的影响,导致所选的阀门在短期内遭到空化汽蚀,产生内漏,以致报废,给电厂的热经济性造成严重影响。
二、事情经过
2010年3月,中电投江西新昌发电厂(2*660MW超超临界机组)在紧张的完成开机的各项准备工作。开机后就因为高加系统疏水阀无法投“自动”而使电厂运行部门陷入了焦虑中。使用的某进口品牌阀门频繁出现卡涩、阀杆变形,无法投入自动运行。经过反复维修始终不能解决问题。“自动”投不上就意味着直接影响机组的稳定,经济性更无从谈起。电厂相关部门迅速展开了调研,找到了西安秦申特种调节阀有限公司,寻求解决问题的方案。
西安秦申公司接到通知后,迅速组织相关技术人员前去现场了解现有问题,在现场找到了问题的根源,原进口品牌因为采用了不平衡设计,摩擦力太大,在急需打开的时候不能顺利的开启从而导致阀杆变形,并在运行的过程中频繁引起管道震动。针对此问题我们提出了将阀门的结构更换为先导阀芯的设计思路,阀门需要紧急打开时,执行机构带动阀杆先打开小阀芯(先导阀芯),使阀腔内急速泄压,小阀芯继续运行带动大阀芯开启。
电厂方经过研究同意执行西安秦申公司制定的方案,要求15天供货。这对该公司的应急生产能力又一次进行了考验。从设计到生产各个部门紧锣密鼓的制定生产计划,争分夺秒!
我公司共为新昌电厂提供了高加系统调节阀门共14台,参数为:
(1)再热器至辅汽联箱调节阀(PN6.4 DN200) 2台
(2)1#高加正常疏水调节阀(PN10 DN150) 2台
(3)1#高加危急疏水调节阀(PN10 DN150) 2台
(4)2#高加正常疏水调节阀(PN10 DN200) 2台
(5)2#高加危急疏水调节阀(PN10 DN200) 2台
(6)3#高加正常疏水调节阀(PN6.4 DN200) 2台
(7)3#高加危机疏水调节阀(PN6.4 DN200) 2台
货准时的到了现场,西安秦申公司又派出技术人员全过程参与安装,调试。开机后,高加正常疏水阀顺利投自动,调节顺利无卡涩。高加危机疏水阀阀体冰凉,问题解决了。电厂相关技术人员原本悬着的心,平静下来了。高加系统运行的非常良好,煤耗、补水率也在逐步的降低。秦申公司又一次帮助超超临界机组解决了设备问题,又一次取得了客户的信任。
三、技术特点
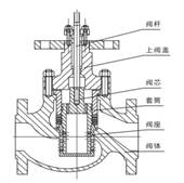
1.高低加正常疏水调节阀
![]() | (1)套筒三级节流, 通道节流面积逐级扩大, 适合饱和水汽化容积扩大的要求,降低流体速度, 减小流体对阀内组件的冲刷。 (2)流体节流面与密封面分开, 阀内组件表面硬化处理, 硬度高, 耐冲刷, 使用寿命长。 (3)调节阀关闭严密,金属阀座泄漏标准可达到ANSI B16.104-1976Ⅳ级。 (4)阀内组件采用压力平衡式的结构, 减小执行机构体积。 |
2.高低加危急疏水调节阀
![]() | (1)套筒节流,节流面与密封面分开。 (2)阀内主件采用特种不锈钢经表面硬化处理,硬度达到HRC70左右,关闭严密,寿命长。 (3)采用先导阀结构,使阀门开启力降低15倍左右,减少执行机构体积及成本。 (4)调节特性好,调节范围大,开关灵活。 工作原理:阀门需要紧急打开时,执行机构带动阀杆先打开小阀芯(先导阀芯),使阀腔内急速泄压,小阀芯继续运行带动大阀芯开启。 |
3.选材及高级热处理
阀内件选用硬度极高的440B(9Cr18MoV),并和西安得天独厚的航天、军工品加工条件紧密结合,采用高级热处理工艺,使阀内件的硬度达到HRC70度左右,远远高于同类产品HRC45左右(包括进口产品),硬度的保证,极大提高了阀门的耐冲刷能力。
四、总结
近年来,西安秦申特种调节阀有限公司在火电厂超临界机组上的高温高压关键阀门的研究取得了长足的进展,所研发的系列产品如迷宫式给水泵最小流量再循环调节阀、多级串级锅炉减温水调节阀、锅炉吹灰调节阀、锅炉连续排污调节阀、主蒸汽疏水调节阀、定期排污阀等产品,在火力发电厂亚临界、超临界机组上已经广泛应用,秦申人用过硬的产品质量和良好的销售服务再一次骄傲地证明,我们通过自身的不断努力,国产产品已经打破了进口产品的垄断地位,国产产口取代进口产品在国内超临界机组的主导地位已经指日可待!





